凸輪轉子泵維修技術要點分析
摘要:凸輪轉子泵是化纖生產中物料(漿料)榆送系統的重要設備,介紹其技術性能、常見故障分析和維修技術要點,為設備通過管道連續…
銷售熱線
021-56082699 56081570
電子郵箱
likaimp@163.com
摘要:凸輪轉子泵是化纖生產中物料(漿料)榆送系統的重要設備,介紹其技術性能、常見故障分析和維修技術要點,為設備通過管道連續…
摘要:在化工領域,考慮到一次投賚成本和維修簡便,很多裝置內輸送物料場合業主習慣選用離心泵的轉子泵型比較多,而轉子泵如螺桿…
隨著生活水平和健康意識的不斷提高,人們對于食品安全的要求也越來越高。在食品及藥品生產過程中越來越多地采用了全自動化控制…
本單位生產的QBY系列氣動隔膜泵是一種輸送機械,采用壓縮空氣為動力源,對于各種腐蝕性液體,帶顆粒的液體,高粘度、易揮發、易燃、劇毒的液體,均能予以抽光吸盡。
流量:0-30m3/h;
揚程:0-50m;
口徑:10-100mm;
溫度:-15-+150℃;
壓力:0.1-0.7MPa;
自吸高度:5-7m。

| 型號 | 流量 (m 3 /h) |
揚程 (m) |
出口壓力 (kgf/cm 2) |
吸程 (m) |
允許能 過顆粒直徑 (mm) |
供氣壓力 (kbf/cm 2) |
供氣消耗量 (m 3 /min) |
材料 | |||
|---|---|---|---|---|---|---|---|---|---|---|---|
| 鋁合金 | 不銹鋼 | 鑄造鐵 | 增強聚丙烯 | ||||||||
| QBY-10 | 0~0.8 | 0~50 | 5 | 5 | 1 | 7 | 0.3 | ★ | ★ | ★ | ★ |
| QBY-15 | 0~1 | 0~50 | 5 | 5 | 1 | 7 | 0.3 | ★ | ★ | ★ | ★ |
| QBY-25 | 0~2.4 | 0~50 | 5 | 7 | 2.5 | 7 | 0.6 | ★ | ★ | ★ | ★ |
| QBY-40 | 0~8 | 0~50 | 5 | 7 | 4.5 | 7 | 0.6 | ★ | ★ | ★ | ★ |
| QBY-50 | 0~12 | 0~50 | 5 | 7 | 8 | 7 | 0.9 | ★ | ★ | ★ | ★ |
| QBY-65 | 0~16 | 0~50 | 5 | 7 | 8 | 7 | 0.9 | ★ | ★ | ★ | ★ |
| QBY-80 | 0~24 | 0~50 | 5 | 7 | 10 | 7 | 1.5 | ★ | ★ | ★ | ★ |
| QBY-100 | 0~30 | 0~50 | 5 | 7 | 10 | 7 | 1.5 | ★ | ★ | ★ | ★ |
1、泵吸花生醬、泡菜、土豆泥、小紅腸、果醬蘋果漿、巧克力等。
2、泵吸油漆、樹膠、顏料。
3、粘合劑和膠水、全部種類可用泵吸取。
4、各種瓦、瓷、磚器及陶器釉漿。
5、油井鉆好后,用泵吸沉積物及灌漿。
6、泵吸各種乳劑和填料。
7、泵吸各種污水。
8、用泵為油輪,駁船清倉吸取倉內污水。
9、啤酒花及發酵粉稀漿、糖漿、糖密。
10、泵吸礦井、坑道、隧道、選礦、礦渣中的積水。泵吸水泥灌漿及灰漿。
11、各種橡膠漿。
12、各種磨料、腐蝕劑、石油及泥漿、清洗油垢及一般容器。
13、各種劇毒、易燃、易揮發液體。
14、各種強酸、強堿、強腐蝕液體。
15、各種高溫液體可耐150℃。
16、作為各種固液分離設備的前級送壓裝置。

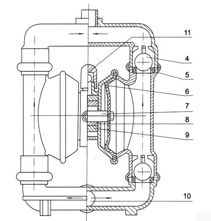
1 進氣口 2 配氣閥體 3 配氣閥 4 圓球 5 球座 6 隔膜 7 連桿 8 連桿銅套 9 中間支架 10 泵進口 11 排氣口
| 型號 | A | B | C | D | E | H1 | H2 | H3 | G | 絲扣 | 備注 |
| QBY-10 | 120 | 58 | 210 | 140 | 10 | 40 | 255 | 12 | 270 | 3/8” | 工程塑料、氟塑料 |
| QBY-15 | 120 | 58 | 210 | 140 | 10 | 40 | 255 | 12 | 270 | 1/2” | |
| QBY-10 | 120 | 0 | 210 | 140 | 12 | 30 | 220 | 10 | 240 | 3/8” | 鑄鐵、不銹鋼、鋁合金 |
| QBY-15 | 120 | 0 | 210 | 140 | 12 | 30 | 220 | 10 | 240 | 1/2” |

| 型號 | A | B | C | D | E | H1 | H | 絲扣 | 備注 |
| QBY-10 | 160 | 0 | 200 | 160 | 10 | 40 | 260 | 3/8” | 鑄鐵、不銹鋼、鋁合金 |
| QBY-15 | 160 | 0 | 200 | 160 | 10 | 40 | 260 | 1/2” | |
| QBY-20 | 180 | 155 | 300 | 200 | 10 | 40 | 400 | 3/4” | |
| QBY-25 | 210 | 160 | 320 | 230 | 12 | 50 | 470 | 1” | |
| QBY-40 | 210 | 160 | 320 | 230 | 12 | 50 | 470 | 11/2” |

| 型號 | A | B | D5 | D6 | C | H | H1 | DN1 | DN2 | n-d1 | n-d2 | D3 | D4 | E | n-d4 | 進氣口 外徑 | 備注 |
| QBY-25 | 215 | 150 | 100 | 100 | 380 | 530 | 70 | 25 | 25 | 4-Φ11 | 4-Φ11 | 75 | 75 | 55 | 4-Φ10 | 10 | 工氟 程塑 塑料料, |
| QBY-40 | 215 | 150 | 130 | 120 | 380 | 530 | 70 | 40 | 32 | 4-Φ13.5 | 4-Φ13.5 | 100 | 90 | 55 | 4-Φ10 | 10 | |
| QBY-25A | 220 | 160 | 110 | 110 | 370 | 575 | 68 | 25 | 25 | 4-Φ11 | 4-Φ11 | 75 | 75 | 80 | 4-Φ12 | 10 | 鑄 鐵 、 不 銹 鋼 、 鋁 合 金 |
| QBY-40A | 220 | 160 | 130 | 120 | 370 | 575 | 68 | 40 | 32 | 4-Φ13.5 | 4-Φ13.5 | 100 | 90 | 80 | 4-Φ12 | 10 | |
| QBY-50 | 340 | 240 | 140 | 140 | 550 | 800 | 65 | 50 | 50 | 4-Φ13.5 | 4-Φ13.5 | 110 | 110 | 145 | 4-Φ17.5 | 12 | |
| QBY-65 | 340 | 240 | 160 | 160 | 550 | 800 | 70 | 65 | 65 | 4-Φ13.5 | 4-Φ13.5 | 130 | 130 | 145 | 4-Φ17.5 | 12 | |
| QBY-80 | 340 | 240 | 190 | 190 | 580 | 950 | 100 | 80 | 80 | 4-Φ17.5 | 4-Φ17.5 | 150 | 150 | 130 | 4-Φ17.5 | 14 | |
| QBY-100 | 340 | 240 | 210 | 190 | 580 | 950 | 100 | 100 | 80 | 4-Φ17.5 | 4-Φ17.5 | 170 | 170 | 130 | 4-Φ17.5 | 14 |
上一條: DBY型電動隔膜泵